Item Description
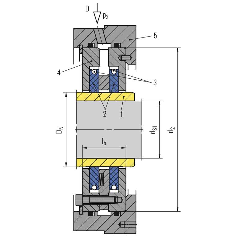
1 Shaft sleeve
2 Segmented carbon ring
3 Garter spring
4 Housing of the standardized sub-cartridge
5 Housing (size matched to installation space)
D Separation gas

CSE

Features

  • Non-contacting bushing seal
  • Gas-lubricated
  • Bi-directional
  • Ready-to-fit cartridge unit
  • Equipped with Espey carbon rings type WKA400

Advantages

  • Low leakage
  • Slow roll capability
  • Insensitive to dry nitrogen

Operating range

Shaft diameter:
24.5 … 360 mm (0.96" … 14.17")
Design pressure:
p = … 10 bar (145 PSI)
Operating pressure:
p = 0.07 bar (1.02 PSI)
Temperature:
t = -20 °C … +200 °C (-4 °F … +392 °F)
Sliding velocity:
vg = 0 ... 200 m/s (0 … 656 ft/s)
Dew point: No limitation

Project specific special designs possible.

Materials

Seal face: Carbon graphite impregnated
Secondary seals: FKM
Shaft sleeve: Stainless steel, TC-coated
Metal parts: 1.4006 or other stainless steels

Standards and approvals

  • NACE
  • API 692

Notes

The service-proven non-contacting bushing seal with low gas consumption. Non contact type carbon rings are segmented rings held together by a garter spring at the outer diameter. A defined minimum radial gap provides a contact- free operation. Robust design and reliable operation provide secure oil sealing even at extreme conditions.

Dimensions on request.

Similar products

CobaSeal

  • Gas-lubricated
  • Bi-directional
  • Ready-to-fit cartridge unit
  • Self cleaning 3D gas grooves
  • Aerostatic and aerodynamic lift-off

CSR

  • Contacting bushing seal
  • Gas-lubricated
  • Bi-directional
  • Ready-to-fit cartridge unit
Contact

Inquire about individual solutions

We develop and produce customer-specific special and individual solutions for every application.

Inquire now Discover reference projects
Back to the overview